Конструкция кирпичных стен

Конструкция кирпичных стен. Колодцевая кладка из кирпича 640 мм. Конструкция кирпичных стен. Керамические блоки porotherm узлы цоколя. Конструкция кирпичных стен.
Конструкция кирпичных стен. Колодцевая кладка из кирпича 640 мм. Конструкция кирпичных стен. Керамические блоки porotherm узлы цоколя. Конструкция кирпичных стен.
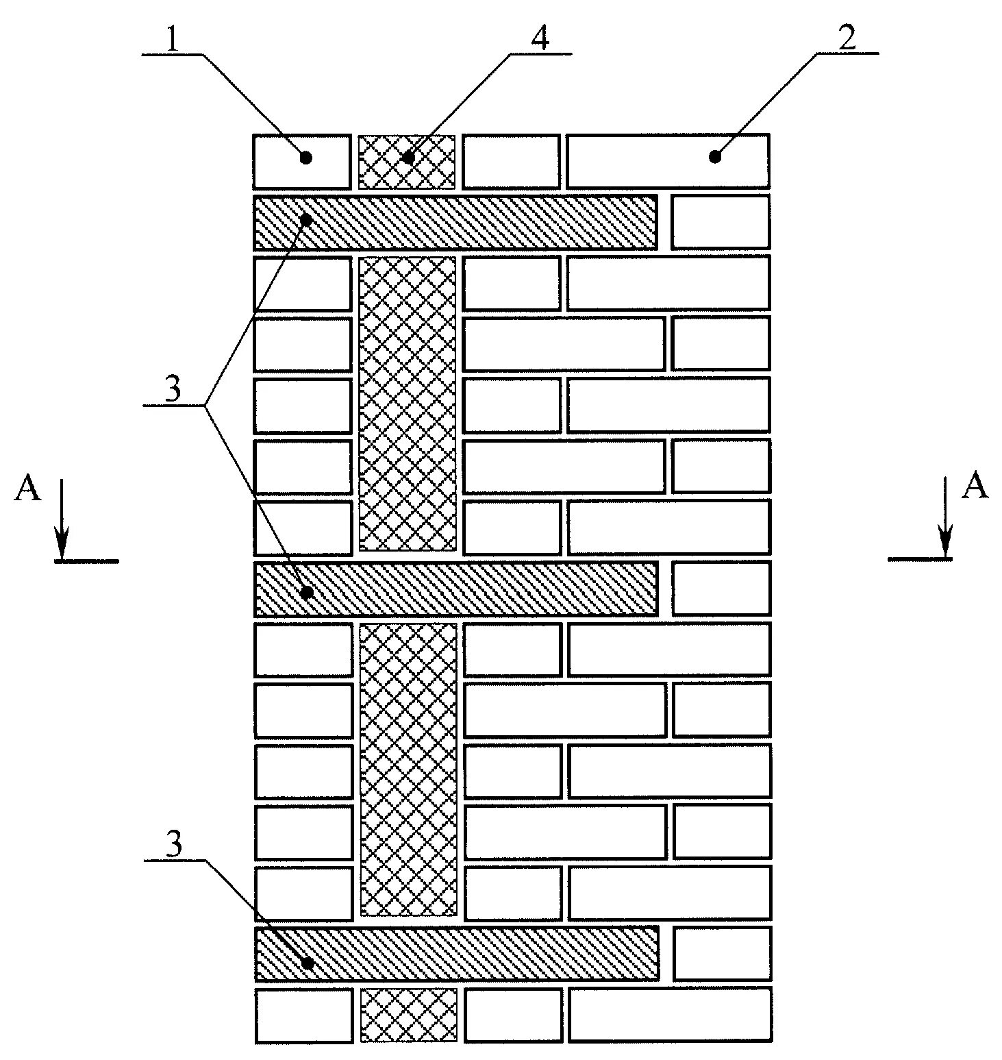
Устройство кирпичной кладки толщиной 65мм. Колодцевая кладка из кирпича 640 мм. Конструкция кирпичных стен. Схема кладки кирпичных стен с утеплителем. Схема армирования кирпичной перегородки.
Устройство кирпичной кладки толщиной 65мм. Колодцевая кладка из кирпича 640 мм. Конструкция кирпичных стен. Схема кладки кирпичных стен с утеплителем. Схема армирования кирпичной перегородки.
Конструкция кирпичных стен. 1nf. Разрез кирпичной стены толщина 510. Схема трехслойной кладки стены с утеплителем. Схема утепления наружной стены из кирпича.
Конструкция кирпичных стен. 1nf. Разрез кирпичной стены толщина 510. Схема трехслойной кладки стены с утеплителем. Схема утепления наружной стены из кирпича.
Узел примыкания газобетона к кирпичной стене. Узел кирпичной стены с утеплителем 640 мм. Схема трехслойной кладки стены с утеплителем. Перемычка для облицовочного кирпича толщиной 250 мм. Колодцевая кладка 2.
Узел примыкания газобетона к кирпичной стене. Узел кирпичной стены с утеплителем 640 мм. Схема трехслойной кладки стены с утеплителем. Перемычка для облицовочного кирпича толщиной 250 мм. Колодцевая кладка 2.
Схема стены 640мм с утеплителем. Конструкция кирпичных стен. Узел кирпичной стены с утеплителем 640 мм. Толщина кирпичной кладки наружных стен с утеплением. Конструкция кирпичных стен.
Схема стены 640мм с утеплителем. Конструкция кирпичных стен. Узел кирпичной стены с утеплителем 640 мм. Толщина кирпичной кладки наружных стен с утеплением. Конструкция кирпичных стен.
Стена трехслойная из кирпича с утеплителем 380мм. Кирпичная стена в 2 кирпича с воздушной прослойкой. Схема кладки кирпичных стен с утеплителем. Чертеж блока поротерм 44. Узлы облицовки газобетона кирпичом.
Стена трехслойная из кирпича с утеплителем 380мм. Кирпичная стена в 2 кирпича с воздушной прослойкой. Схема кладки кирпичных стен с утеплителем. Чертеж блока поротерм 44. Узлы облицовки газобетона кирпичом.
Чертеж газобетонной стены узел. Схема кладки кирпичных стен с утеплителем. Узел кладки кирпича 250мм. Трехслойная стена узел ширина 510. Газобетон д400 облицовка кирпичом чертёж.
Чертеж газобетонной стены узел. Схема кладки кирпичных стен с утеплителем. Узел кладки кирпича 250мм. Трехслойная стена узел ширина 510. Газобетон д400 облицовка кирпичом чертёж.
Конструкция кирпичных стен. Трехслойные наружные кирпичные стены 510 чертеж. Трехслойные наружные кирпичные стены 510 чертеж. 1nf. Кирпичная колодцевая кладка с утеплителем.
Конструкция кирпичных стен. Трехслойные наружные кирпичные стены 510 чертеж. Трехслойные наружные кирпичные стены 510 чертеж. 1nf. Кирпичная колодцевая кладка с утеплителем.
Трехслойные наружные кирпичные стены 510 чертеж. Кладка стен толщиной 640 мм. Армирование перегородок из кирпича 250 мм. Разрез стены толщиной 510мм. Конструкция стены из кирпича с утеплителем и облицовкой кирпичом.
Трехслойные наружные кирпичные стены 510 чертеж. Кладка стен толщиной 640 мм. Армирование перегородок из кирпича 250 мм. Разрез стены толщиной 510мм. Конструкция стены из кирпича с утеплителем и облицовкой кирпичом.
Трехслойные наружные кирпичные стены 510 чертеж. Узел опирания кирпичной перегородки 250 мм. Колодцевая кладка 2. Облегченная кирпичная кладка 640мм. Трехслойные наружные кирпичные стены 510 чертеж.
Трехслойные наружные кирпичные стены 510 чертеж. Узел опирания кирпичной перегородки 250 мм. Колодцевая кладка 2. Облегченная кирпичная кладка 640мм. Трехслойные наружные кирпичные стены 510 чертеж.
Кирпичная стена 380 мм с утеплителем. Перегородка кирпичная 250 мм схема. Кирпичная стена 640 мм с утеплителем. Конструкция кирпичных стен. Армирование кирпичной кладки чертеж.
Кирпичная стена 380 мм с утеплителем. Перегородка кирпичная 250 мм схема. Кирпичная стена 640 мм с утеплителем. Конструкция кирпичных стен. Армирование кирпичной кладки чертеж.
Схема кладки кирпичных стен с утеплителем. Порядовка кирпичной кладки в 2 кирпича. Колодцевая кирпичная кладка стен. Утепление кирпичных стен снаружи схема. Трехслойные наружные кирпичные стены 510 чертеж.
Схема кладки кирпичных стен с утеплителем. Порядовка кирпичной кладки в 2 кирпича. Колодцевая кирпичная кладка стен. Утепление кирпичных стен снаружи схема. Трехслойные наружные кирпичные стены 510 чертеж.
Схема утепления стен из кирпича. Кирпичная кладка 250мм чертеж перегородки. Стена утепленная толщ 510 мм. Кладка стены 510мм из кирпича. 44 блок поротерм.
Схема утепления стен из кирпича. Кирпичная кладка 250мм чертеж перегородки. Стена утепленная толщ 510 мм. Кладка стены 510мм из кирпича. 44 блок поротерм.
Схема кладки трехслойной перегородки с утеплителем. 1nf. Кирпичная стена толщиной 640мм. Слоистая кладка (трехслойная стена) rockwool. Схема кладки кирпичных стен с утеплителем.
Схема кладки трехслойной перегородки с утеплителем. 1nf. Кирпичная стена толщиной 640мм. Слоистая кладка (трехслойная стена) rockwool. Схема кладки кирпичных стен с утеплителем.
Конструкция кирпичных стен. Конструкция кирпичных стен. Толщина кирпичной кладки наружной стены. Узел наружной стены из кирпича с утеплителем. Схема утепления и облицовки фасада кирпичом.
Конструкция кирпичных стен. Конструкция кирпичных стен. Толщина кирпичной кладки наружной стены. Узел наружной стены из кирпича с утеплителем. Схема утепления и облицовки фасада кирпичом.
Трёхслойная стена кирпичная кладка 380 мм. Схема кирпичной стены 380 мм. Конструкция кирпичных стен. Конструкция кирпичных стен. Колодцевая кладка 2.
Трёхслойная стена кирпичная кладка 380 мм. Схема кирпичной стены 380 мм. Конструкция кирпичных стен. Конструкция кирпичных стен. Колодцевая кладка 2.
Трехслойные наружные кирпичные стены 510 чертеж. Узел наружной стены из кирпича с утеплителем. Колодцевая кладка с утеплителем 510. Конструкция кирпичных стен. Цоколь узел плита поротерм 440.
Трехслойные наружные кирпичные стены 510 чертеж. Узел наружной стены из кирпича с утеплителем. Колодцевая кладка с утеплителем 510. Конструкция кирпичных стен. Цоколь узел плита поротерм 440.
Конструкция кирпичных стен. Кладка наружных стен с утеплителем внутри кладки. Трехслойные наружные кирпичные стены 510 чертеж. Конструкция кирпичных стен. Схема стены 640мм с утеплителем.
Конструкция кирпичных стен. Кладка наружных стен с утеплителем внутри кладки. Трехслойные наружные кирпичные стены 510 чертеж. Конструкция кирпичных стен. Схема стены 640мм с утеплителем.
Чертеж стены из кирпича с утеплителем 380 мм. Утепление кирпичной стены изнутри схема. Схема наружной стены из кирпича с утеплителем. Колодцевая кирпичная кладка стен. Стена кирпичная 510мм теплоизоляция.
Чертеж стены из кирпича с утеплителем 380 мм. Утепление кирпичной стены изнутри схема. Схема наружной стены из кирпича с утеплителем. Колодцевая кирпичная кладка стен. Стена кирпичная 510мм теплоизоляция.
Конструкция кирпичных стен. Конструкция кирпичных стен. Облицовочная кладка кирпичных стен толщиной 380 мм. Колодцевая кладка стен. Кирпичная кладка 640 мм перемычки узел.
Конструкция кирпичных стен. Конструкция кирпичных стен. Облицовочная кладка кирпичных стен толщиной 380 мм. Колодцевая кладка стен. Кирпичная кладка 640 мм перемычки узел.